
Если частый вызов ассенизаторской машины неудобен для владельцев участка, можно устроить дачный туалет без выгребной ямы. Такие конструкции снабжаются утилизаторами, полностью или частично перерабатывающими отходы, поэтому использование спецтехники требуется значительно реже или потребность в ней исчезает вовсе. Туалет для дачи без запаха и откачки может быть как проще так и сложнее в устройстве, однако его удобство в полной мере компенсирует средства, время и силы, потраченные на сооружение.
Виды туалетов без ямы
Можно построить дачный туалет без выгребной ямы своими руками или приобрести готовую заводскую конструкцию. В первом случае вы сэкономите средства, во втором – время и силы, поэтому всегда есть варианты для выбора, следует только учитывать особенности каждого вида, нюансы монтажа и эксплуатации.
1. Биотуалеты становятся все более популярными среди дачников, посещающих свои участки не слишком часто и не проживающих за городом длительное время. Такие модели могут быть только покупными, однако они выгодно отличаются компактностью, небольшим весом и минимальными требованиями к обслуживанию.
Сухой или жидкий наполнитель резервуаров содержит бактерии, способствующие разложению отходов. Также большой популярностью пользуются модели с торфяной засыпкой. Благодаря этому исключается вероятность гниения, образование резкого неприятного запаха. Биотуалеты могут быть установлены на любом участке вне зависимости от его рельефа, типа почвы и уровня залегания грунтовых вод, а отходы относятся в компостную яму для дальнейшей переработки, после которой они становятся натуральным удобрением.

Торфяной биотуалет — удобный вариант без обустройства ямы и регулярной ее откачки
Кроме того, существуют также модели электрических биотуалетов, в которых отходы могут высушиваться до состояния золы.
Биотуалеты могут располагаться как непосредственно в доме, так и в уличных строениях.
Важно: Отходы из биотуалетов, в качестве наполнителя которых выступают химические вещества, утилизировать в компост и использовать в качестве удобрения нельзя.
2. Септик — это целое семейство конструкций очистных сооружений для утилизации отходов не только от туалета, а от всех сантехнических и бытовых приборов в целом, включая стиральную и посудомоечную машины. Отличаются по производительности и степени очистки стоков. Септики (системы автономной канализации) могут быть покупными или построенными своими руками, но для их установки в любом случае потребуется выполнение земельных работ – резервуары всегда находятся под землей, а от дома также под землей к ним прокладывается труба.

Установка септика является универсальным решением для обустройства как туалета, так и всей канализации на участке в целом
Выбор конструкции зависит от ряда условий. Например, модели с почвенной доочисткой не рекомендуются для участков с глинистыми малопроницаемыми почвами или в тех местах, где грунтовые воды находятся близко к поверхности. Септики в основном могут быть одно-, двух- или трехкамерными. Количество камер во многом определяет качество очистки воды, а общий объем резервуаров выбирается по среднесуточному объему стоков.
Обычно к септикам подключают туалеты, которые размещаются в доме.
3. Пудр-клозет – это удобный и экономичный туалет на даче без выгребной ямы. После каждого посещения отходы присыпаются составом, способствующим их преобразованию в компост. В некоторых случаях для этих целей используется зола или опилки, но эффективнее всего торф или торфо-опилочная смесь. По мере наполнения резервуар его содержимое выгружается в компостную яму для дозревания. Таким образом можно получить безопасное органическое удобрение и решить проблему утилизации.
Пудр-клозеты заводского изготовления (торфяные биотуалеты) могут иметь специальные распределители засыпки, устройства для разделения отходов на твердую и жидкую фракции. Самодельные модели просты в изготовлении и снабжаются емкостью для торфа и совком. Резервуары пудр-клозетов герметичны и устанавливаются на поверхности, поэтому такие конструкции могут устанавливаться на любых участках.

Устройство самодельного пудр-клозета
Выбор места
Санитарные нормы, предъявляемые к утилизаторам отходов жизнедеятельности человека, важны, в первую очередь, для септиков с почвенной доочисткой и для туалетов с выгребными ямами. Тем не менее, правильным будет соблюсти их и для герметичных накопителей, это позволит гарантированно избежать неприятностей, даже при аварийных ситуациях.
- До источника водоснабжения (скважины или колодца) от вашего туалета расстояние должно быть, как минимум, 25 метров.
- Учитывая розу ветров, вы сможете установить конструкцию таким образом, чтобы неприятные запахи относились в сторону от вашего дома и от дома соседей.
- От забора туалет должен располагаться на расстоянии от 1 метра.
Строительство туалета
Дачные туалеты без выгребной ямы – это не только утилизаторы, но и строения, в которых будет помещаться полностью конструкция (биотуалет, пудр-клозет) или часть ее (унитаз, стульчак), соединенная с расположенным под землей резервуарами в случае использования септика для обустройства общей канализации на участке.
Материалы
Надземная часть дачного туалета – это, чаще всего, каркасная конструкция с внутренней и наружной обшивкой. Для ее постройки потребуются:
- для каркаса – брус или обрезная доска,
- для обшивки – вагонка, доски, сайдинг , профнастил и пр.,
- для устройства стульчака – доски или фанера,
- для крыши – рубероид, шифер, оцинкованный металл, профнастил, черепица (металлическая или керамическая).
Дверь можно собрать самостоятельно или приобрести готовый блок.
Для сборки потребуются метизы (саморезы, гвозди, болты) и инструменты.
Устанавливать конструкцию следует на фундамент, для которого потребуется бетонный раствор или кирпичи.
Строительство фундамента
Наличие фундамента повысит надежность вашей постройки и позволит избежать неприятностей. Домик для туалета или, как его называют еще, «скворечник» или «шалаш» — это достаточно легкая конструкция, поэтому для нее оптимальным вариантом станет как ленточный, так столбчатый фундамент.
- Для строительства ленточного фундамента по периметру места установки вырывается траншея, на дно которой укладывается песчаная подушка высотой не менее 15 см. Слой песка при этом следует уплотнить вибротрамбовкой или вручную. После этого собирается опалубка из любого доступного материала (досок, фанеры, листов оцинкованного металла и пр.). Для придания прочности конструкции необходим армирующий каркас, который собирается из металлических прутов с сечением около 12 мм и проволоки. Опалубка с размещенным внутри нее каркасом заливается бетонным раствором.
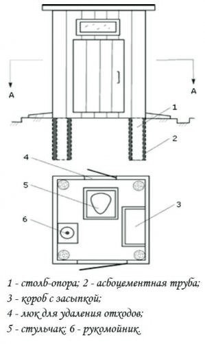
- Столбчатый фундамент подразумевает устройство опор на углах домика. Такие столбы могут быть выполнены из армированного бетона по аналогии с устройством ленточного фундамента или из кирпичной кладки. Также возможно использование асбестоцементных труб, которые для прочности частично заливают бетоном.

Схема дачного туалета с засыпной емкостью (пудр-клозета)
Строительство домика
С точки зрения конструкции самого домика, туалет для дачи без запаха и откачки, не имеющий выгребной ямы, строится так же, как и туалет с ямой.
После сооружения фундамента, его накрывают листами рубероида. Такая прослойка обеспечивает гидроизоляцию и увеличивает срок службы конструкции.
Перед сборкой каркаса его элементы рекомендуется прогрунтовать и покрасить для защиты от влаги. Можно также использовать специальные пропитки.
В дальнейшем действуют по следующей схеме:

Строительство туалетного домика
В двери или над ней рекомендуется прорезать отверстие для естественного освещения в дневное время, после чего туалет для дачи без ямы практически готов к использованию. Остается только позаботиться о внутреннем оснащении – установить сидение и крышку, полку для принадлежностей, емкость для отходов, бак для торфа и совок (в случае выбора пудр-клозета).
Вентиляция
Вентиляция нужна не только для выгребных ям, но и для туалетов, работающих без подобного накопителя. Наличие вентиляционной трубы обеспечит удаление неприятного запаха и приток воздуха, необходимого для жизнедеятельности перерабатывающих отходы бактерий.
Самым простым решением станет монтаж пластиковой (прочной, но легкой) трубы диаметром 100 мм с закреплением ее на внешней задней стенке постройки. Труба обычно устанавливается так, чтобы ее верхняя часть была примерно на 20-50 см выше уровня крыши, а для обеспечения тяги устанавливают дефлектор.